眾所周知,MacBook Pro 的 FaceTime 鏡頭質素遠不及 iPhone,但最新研究顯示蘋果正在著手改善這一問題。蘋果可能決定採用在可旋轉螢幕上安裝更大鏡頭的解決方案。
重點文章
突破性專利:可拆卸鏡頭模組
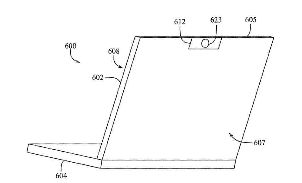
最近獲批的「便攜式電子設備的相機整合」專利揭示,蘋果不再局限於追求纖薄設計,而是專注於提供 MacBook Pro 所需的鏡頭系統。專利圖顯示,新鏡頭系統厚度不超過 3mm,但會從 MacBook Pro 螢幕邊緣突出。


靈活多變的鏡頭配置
專利描述了多種鏡頭配置方式:
- 部分嵌入螢幕缺口
- 可移動至螢幕側面
- 可拆卸並安裝在機身背面
這種設計似乎採用了磁性附著方式,讓鏡頭模組能夠輕鬆安裝在 MacBook Pro 的不同位置。
前後雙鏡頭:多角度拍攝新可能
專利還提到鏡頭模組之間可以相互通信。一種設計方案是在螢幕正面和背面各安裝一個突出的鏡頭,這可能實現類似 iPhone 11 同時使用前後鏡頭拍攝的功能。

旋轉螢幕:革命性設計概念
專利中最引人注目的是旋轉螢幕的設計。用戶可以將額外的鏡頭模組安裝在 MacBook Pro 螢幕背面,然後旋轉整個螢幕進行拍攝。或者將鏡頭安裝在正面,需要使用 LiDAR 感應器時再旋轉螢幕。
專利還提到了可拆卸螢幕的概念,允許用戶將螢幕從鍵盤區域分離,翻轉後重新安裝。這為未來可配置的螢幕或鍵盤單元開闢了可能性。